Основные понятия
,
где F – сила взаимодействия точечных зарядов
и
;
r – расстояние между зарядами;
диэлектрическая
проницаемость;
электрическая
постоянная.
Напряженность электрического поля и потенциал:
,
,
где П – постоянная энергия точечного положительного заряда Q, находящегося в данной точке поля (при условии, что потенциальная энергия заряда, удаленного в бесконечность, равна нулю).
Сила, действующая на точечный заряд, находящийся в электрическом поле, и потенциальная энергия этого заряда:
![]()
Напряженность и потенциал поля, создаваемого системой точечных зарядов (принцип суперпозиции электрических полей):
![]()
где
напряженность
и потенциал в данной точке поля, создаваемого
i – м зарядом.
Напряженность и потенциал поля, создаваемого точечным зарядом:
где r – расстояние от заряда Q до точки, в которой определяются напряженность и потенциал.
Напряженность и потенциал поля, создаваемого проводящей заряженной сферой радиусом R на расстоянии r от центра сферы:
а)
(при r<R),
б)
(при r=R),
в)
(при r>R),
где Q – заряд сферы.
Линейная плотность заряда:
.
Поверхностная плотность заряда:
.
Напряженность и потенциал поля,
создаваемого распределенными зарядами. Если заряд равномерно распределен вдоль
линии с линейной плотностью
,
то на линии выделяется малый участок длиной dl с зарядом
.
Такой заряд можно рассматривать как точечный и применить формулы:
![]()
где r – радиус-вектор, направленный от выделенного элемента dl к точке, в которой вычисляется напряженность.
Используя принцип суперпозиции
электрических полей, находим интегрированием напряженность Е и потенциал
поля, создаваемого распределенным
зарядом:
![]()
Интегрирование ведется вдоль всей длины l заряженной линии (см. пример 6).
Напряженность поля, создаваемого бесконечной прямой равномерно заряженной линией или бесконечно длинным цилиндром:
![]()
где r – расстояние от нити или оси цилиндра до точки, напряженность поля в которой вычисляется.
Напряженность поля, создаваемого бесконечной равномерно заряженной плоскостью:
Связь потенциала с напряженностью:
а)
или
(в общем случае);
б)
(в случае однородного поля);
в)
(в случае поля, обладающего центральной или осевой симметрией).
Электрический момент диполя:
,
где Q – заряд; I – плечо диполя (векторная величина, направленная от отрицательного заряда к положительному и численно равная расстоянию между зарядами).
Работа сил поля по перемещению
заряда Q из точки поля с потенциалом
в точку с потенциалом
:
.
Электроемкость:
или
,
где
потенциал
проводника (при условии, что в бесконечности потенциал проводника принимается
равным нулю); U – разность потенциалов пластин конденсатора.
Электроемкость уединенной проводящей сферы радиусом R:
.
Электроемкость плоского конденсатора:
,
где S – площадь пластины (одной) конденсатора; d – расстояние между пластинами.
Электроемкость батареи конденсаторов:
а)
(при последовательном соединении);
б)
(при параллельном соединении),
где N – число конденсаторов в батарее.
Энергия заряженного конденсатора:
.
Сила тока
,
где Q – заряд, прошедший через поперечное сечение проводника за время t.
Плотность тока:
,
где S – площадь поперечного сечения проводника.
Связь плотности тока со средней
скоростью
направленного движения заряженных частиц:
,
где е – заряд частицы; n – концентрация заряженных частиц.
Закон Ома:
а)
(для участка цепи, не содержащего э. д. с.),
где
разность
потенциалов (напряжение) на концах участка цепи; R–сопротивление участка;
б)
(для участка цепи содержащего э. д. с.),
где
э.
д. с. источника тока; R – полное сопротивление участка (сумма внешних и внутренних
сопротивлений);
в)
(для замкнутой (полной) цепи),
где R – внешнее сопротивление
цепи;
внутреннее
сопротивление цепи.
Законы Кирхгофа;
а)
,
(первый закон);
б)
(второй
закон);
где
алгебраическая
сумма сил токов, сходящихся в узле;
алгебраическая
сумма произведений сил токов на сопротивление участков;
алгебраическая
сумма э. д. с.
Сопротивление R и проводимость G проводника:
![]()
где
удельное
сопротивление;
удельная
проводимость; l – длина проводника; S – площадь поперечного сечения проводника.
Сопротивление системы проводников:
а)
(при
последовательном соединении);
б)
(при параллельном соединении);
где
сопротивление
i-го проводника.
Работа тока:
![]()
Первая формула справедлива для любого участка цепи, на концах, которого поддерживается напряжение U, последние две – для участка, не содержащего э. д. с.
Мощность тока:
![]()
Закон Джоуля-Ленца:
.
Закон Ома в дифференциальной форме:
![]()
где
удельная
проводимость, Е – напряженность электрического поля; j – плотность
тока.
Связь удельной проводимости с подвижностью b заряженных частиц (ионов)
,
Где Q – заряд иона: n
– концентрация ионов;
и
подвижности положительных
и отрицательных ионов.
ПРИМЕРЫ РЕШЕНИЯ ЗАДАЧ
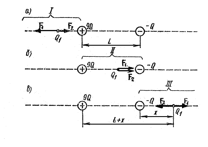
ПРИМЕР 1. Два точечных заряда
9Q и –Q закреплены на расстоянии
друг
от друга. Третий заряд
может перемещаться только вдоль прямой, проходящей через заряды. Определить
положение заряда
,
при котором он будет находиться в равновесии. При каком знаке заряда
равновесие будет устойчивым?
РЕШЕНИЕ. Заряд
находиться в равновесии в том случае, если геометрическая сумма сил, действующих
на него, равна нулю. Это значит, что на заряд
должны действовать две силы, равные по модулю и противоположные по направлению.
Рассмотрим, на какой из трех участков: I, II, III (рис. 11), может быть выполнено
это условие. Для определенности будем считать, что заряд
положительный.
На участке I (рис. 11,а) на заряд
будут действовать
две противоположно направленные силы
и
. Сила
,
действующая со стороны заряда 9Q, в любой точке этого участка больше
силы
, действующей
со стороны заряда –Q, так как больший заряд 9Q находиться всегда
ближе к заряду
,
чем меньший заряд –Q. Поэтому равновесие на этом участке невозможно.

Рис.11
На участке II (рис. 11,б) обе силы
и
.направлены
в одну сторону – к заряду –Q. Следовательно, и на втором участке равновесие
невозможно.
На участке III (рис. 11,в)
илы
и
направлены в противоположные стороны, так же как и на участке I, но в отличие
от него меньший заряд –Q всегда находиться ближе к заряду
,
чем больший заряд 9Q. Это значит, что можно найти такую точку на прямой,
где силы
и
будут одинаковы по модулю, т. е.
(1)
Пусть x и l+x
– расстояния от меньшего и большего зарядов до заряда
.
Выражая в равенстве (1)
и
в соответствии
с законом Кулона, получим
,
или
, откуда
.
Корень
не удовлетворяет физическому условию задачи (в этой точке силы
и
хотя и равны
по модулю, но не совпадают по направлению).
Определим знак заряда
,
при котором равновесие будет устойчивым. Равновесие называется устойчивым, если
при смещении заряда от положения равновесия возникают силы, возвращающие его
в положение равновесия. Рассмотрим смещение заряда
в двух случаях: когда заряд положителен и отрицателен.
Если заряд
положителен, то при смещении его влево обе силы
и
возрастают
медленнее (заряд 9Q всегда находится дальше, чем –Q). Следовательно,
и на заряд
действует результирующая сила, направленная также влево. Под ее действием заряд
удаляется от
положения равновесия. То же происходит и при смещении заряда
вправо. Сила
убывает быстрее, чем
. Геометрическая
сумма сил в этом случае направлена вправо. Заряд под действием этой силы также
будет перемещаться вправо, т. е. удаляется от положения равновесия. Таким образом,
в случае положительного заряда равновесие является неустойчивым.
Если заряд
отрицателен, то его смещение влево вызовет увеличение сил
и
, но сила
возрастает медленнее, чем
,
т. е.
. Результирующая
сила будет направлена вправо. Под ее действием заряда
возвращается
к положению равновесия. При смещении
вправо сила
убывает быстрее, чем
,
т. е.
, результирующая
сила направлена влево и заряд
опять будет возвращаться к положению равновесия. При отрицательном заряде равновесие
является устойчивым. Величина самого заряда
несущественна.
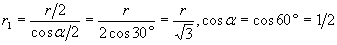
ПРИМЕР 2. Три точечных заряда
расположены
в вершинах разностороннего треугольника. Какой заряд
нужно
поместить в центре треугольника, чтобы указанная система зарядов находилась
в равновесии?
РЕШЕНИЕ. Все три заряда, расположенные
по вершинам треугольника, находятся в одинаковых условиях. Поэтому достаточно
выяснить, какой заряд следует поместить в центре треугольника, чтобы какой –
нибудь один из трех зарядов, например
,
находился в равновесии. Заряд
будет находиться в равновесии, если векторная сумма действующих на него сил
равна нулю (рис.12):
,
(1)
где
силы,
с которыми соответственно действуют на заряд
заряды
равнодействующая
сил
и
.
Так как силы F и
направлены по одной прямой в противоположные стороны, то векторное равенство
(1) можно заменить скалярным:
,
откуда
. Выразив
в последнем равенстве F через
и
и учитывая,
что
, получим
.
Применив закон Кулона, и имея
в виду, что
,
найдем
,
откуда
.
(2)
Из геометрических построений в равностороннем треугольнике следует, что
.
С учетом этого формула (2) примет вид
.
Произведем вычисления:
.
Следует отметить, что равновесие системы зарядов будет неустойчивым.

Рис.12
ПРИМЕР 3. На тонком стержне
длинной l=20см находится равномерно распределенный электрический заряд. На продолжении
оси стержня на расстоянии, а=10см от ближайшего конца находится точечный заряд
, который взаимодействует
со стержнем с силой F=6мкН. Определить линейную плотность
заряда на стержне.
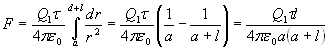
РЕШЕНИЕ. Сила взаимодействия
F заряженного стержня с точечным зарядом
зависит от линейной плотности
заряда на стержне. Зная эту зависимость, можно определить
.
При вычислении силы F следует иметь в виду, что заряд на стержне не является
точечным, поэтому закон Кулона непосредственно применить нельзя. В этом случае
можно поступить следующим образом. Выделим из стержня (рис. 13) малый участок
dr с зарядом
.

Рис.13
Этот заряд можно рассматривать как точечный. Тогда, согласно закону Кулона,
.
Интегрируя это выражение в пределах от а до а+l, получаем
,
откуда
.
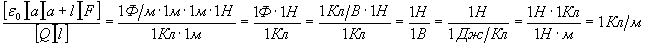
Проверим, дает ли расчетная формула единицу линейной плотности электрического заряда. Для этого в правую часть формулы вместо символов величин подставим их единицы:
Найденная единица является единицей линейной плоскости заряда.
Произведем вычисления:
.
ПРИМЕР 4. Два точечных электрических
заряда
и
находятся в воздухе на расстоянии d=10см друг от друга. Определить напряженность
Е и потенциал
поля, создаваемого этими зарядами в точке А, удаленной от заряда
на расстояние
и от заряда
на
.
РЕШЕНИЕ. Согласно принципу суперпозиций
электрических полей каждый заряд создает поле независимо от присутствия в пространстве
других зарядов. Поэтому напряженность Е электрического поля в искомой
точке может быть найдена как геометрическая сумма напряженностей
и
полей, создаваемых
каждым зарядом в отдельности
.
Напряженности электрического поля, создаваемого в воздухе
зарядами
и
:
,
(1)
. (2)
Вектор
(рис. 14) направлен по силовой линии от заряда
,
так как заряд
положителен; вектор
направлен также по силовой линии, но к заряду
,
так как заряд
отрицателен.

Рис.14
Модуль вектора Е найдем по теореме косинусов:
,
(3)
где
угол
между векторами
и
, который может
быть найден из треугольника со сторонами
и
. В данном
случае во избежание громоздких записей удобно значение
вычислить отдельно:
.
Подставляя выражения
из (1) и
из
(2) в (3) и вынося общий множитель
за знак корня, получаем
.
(4)
В соответствии с принципом
суперпозиций электрических полей потенциал
реализующегося поля, создаваемого двумя зарядами
и
, равен
алгебраической сумме потенциалов, т. е.
.
(5)
Потенциал электрического поля, создаваемого в вакууме точечным зарядом Q на расстоянии r от него, выражается формулой
.
(6)
В нашем случае согласно формулам (5) и (6) получим
,
или
.
Произведем вычисления:

При вычислении Е знак заряда
опущен,
так как знак заряда определяет направление вектора напряженности, а направление
было учтено при его графическом изображении (рис. 14):
.
ПРИМЕР 5. Точечный заряд
Q=25нКл находится в поле, созданном прямым бесконечным цилиндром радиусом
,
равномерно заряженным с поверхностной плотностью
.
Определить силу F, действующую на заряд, если его расстояние от оси цилиндра
.
РЕШЕНИЕ. Значение силы F, действующей на точечный заряд Q, находящийся в поле, определяется по формуле
,
(1)
где Е – напряженность поля.
Как известно, напряженность поля бесконечно длинного равномерно заряженного цилиндра
,
(2)
где
линейная
плотность заряда.
Выразим линейную плотность
через поверхностную плотность
. Для этого выделим элемент цилиндра
длинной l и выразим находящийся на ней заряд Q двумя способами:
. Приравняв
правые части этих формул, и сократив полученное равенство на l, найдем
. С учетом этого
формула (2) примет вид
.
Подставив выражение Е в (1), получим
.
Произведем вычисления:
.
Сила F сонаправлены с напряженностью Е, которая в силу симметрии (цилиндр бесконечно длинный) перпендикулярна поверхности цилиндра.
ПРИМЕР 6. По тонкой нити,
изогнутой по дуге окружности, равномерно распределен заряд с линейной плотностью
. Определить
напряженность Е и потенциал
электрического поля, создаваемого таким распределенным зарядом в точке, совпадающей
с центром кривизны дуги. Длина l нити составляет одну треть длины окружности
и равна 15 см.
РЕШЕНИЕ. Выберем оси координат
так, чтобы начало координат совпадало с центром кривизны дуги, а ось Y
была бы симметрично расположена относительно концов дуги (рис. 15). На нити
выделим элемент длины dl. Заряд
,
находящийся на выделенном участке, можно считать точечным.

Рис.15
Определим напряженность электрического поля в точке 0. Для этого найдем сначала напряженность dE поля, создаваемого зарядом dQ:
![]()
где r – радиус-вектор, направленный от элемента dl к точке, напряженность которой вычисляется.
Выразим вектор dE через
проекции
и
на оси координат:
,
где i и j – единичные векторы направлений (орты).
Напряженность Е найдем интегрированием:
.
Интегрирование ведется вдоль дуги
длиной l. В силу симметрии
.
Тогда
.
(1)
где
.
Так как r=R=const,
, то
.
Подставим выражение
в (1) и, приняв во внимание симметричное расположение дуги относительно оси
Y, пределы интегрирования возьмем от 0 до
,
а результат удвоим:
.
Выразив радиус R через
длину l нити
,
получим
.
(2)
Из этой формулы видно, что напряженность поля по направлению совпадает с осью Y.
Найдем потенциал электрического
поля в точке 0. Сначала найдем потенциал
,
создаваемый точечным зарядом dQ в точке 0:
.
Заменим r на R и проведем интегрирование:
.
Так как
,
то
.
(3)
Произведем вычисления по формулам (2) и (3):

ПРИМЕР 7. На пластинах плоского
конденсатора находится заряд Q=10нКл. Площадь S каждой пластины конденсатора
равна
, диэлектрик – воздух.
Определить силу F, с которой притягиваются пластины. Поле между пластинами считать
однородным.
РЕШЕНИЕ. Заряд Q одной
пластины находится в поле напряженностью
,
созданном зарядом другой пластины конденсатора. Следовательно, на первый заряд
действует сила (рис. 16)

Рис.16
.
(1)
Так как
,
(2)
где
поверхностная
плотность заряда пластины, то формула (1) примет вид
.
Произведем вычисления:
![]()
ПРИМЕР 8. Электрическое
поле создано длинным цилиндром радиусом R=1см, равномерно заряженным с линейной
плотностью
.
Определить разность потенциалов двух точек этого поля, находящихся на расстоянии
и
от поверхности цилиндра, в средней его части.
РЕШЕНИЕ. Для определения разности
потенциалов воспользуемся соотношением между напряженностью поля и изменением
потенциала:
.
Для поля с осевой симметрией, каким является поле цилиндра, это соотношение
можно записать в виде
,
или
.
Интегрируя это выражение, найдем
разность потенциалов двух точек, отстоящих на расстояниях
и
от оси цилиндра:
.
(1)
Так как цилиндр длинный и точки взяты вблизи его средней части, то для выражения напряженности поля можно воспользоваться формулой напряженности поля, создаваемого бесконечно длинным цилиндром:
.
(2)
Подставив выражение Е в (1), получим
,
или
.
Произведем вычисления, учитывая,
что величина
и
, входящие
в формулу (2) в виде отношения, можно выразить в сантиметрах
:
.
ПРИМЕР 9. Определить ускоряющую
разность потенциалов U, которую должен пройти в электрическом поле электрон,
обладающий скоростью
,
чтобы скорость его возросла в n=2раза.
РЕШЕНИЕ. Ускоряющую разность потенциалов можно найти, вычислив работу А сил электростатического поля. Эта работа определяется произведением заряда е электрона на разность потенциалов U:
.
(1)
Работа сил электростатического поля в данном случае равна изменению кинетической энергии электрона:
,
(2)
где
и
кинетические
энергии электрона до и после прохождения ускоряющего поля; m – масса
электрона;
и
начальная и конечная
скорости его.
Приравняв правые части равенств (1) и (2), получим
,
где
.
Отсюда искомая разность потенциалов
.
(3)
Произведем вычисления:
.
ПРИМЕР 10. Конденсатор емкостью
был заряжен
до разности потенциалов
.
После отключения от источника тока конденсатор соединили параллельно с другими
незаряженными конденсаторами емкостью,
.
Какая энергия
израсходуется на
образование искры в момент присоединения второго конденсатора?
РЕШЕНИЕ. Энергия, израсходованная на образование искры,
,
(1)
где
- энергия, которой обладал первый конденсатор до присоединения к нему второго
конденсатора;
- энергия, которую имеет батарея, составленная из двух конденсаторов.
Энергия заряженного конденсатора определяется по формуле
,
(2)
где С – емкость конденсатора или батареи конденсаторов.
Выразив в формуле (1) энергии
и
по формуле (2) и приняв во внимание, что общая емкость параллельно соединенных
конденсаторов равна сумме емкостей отдельных конденсаторов, получим
,
(3)
где
- разность потенциалов на зажимах батареи конденсаторов.
Учитывая, что заряд после присоединения
второго конденсатора остался прежним, выразим разность потенциалов
следующим образом:
.
(4)
Подставив выражение
в (3), найдем
,
или
.
Произведем вычисления:
.
ПРИМЕР 11. Потенциометр
с сопротивлением R=100Ом подключен к батарее, э. д. с. которой
и внутреннее сопротивление
.
Определить: 1) показание вольтметра с сопротивлением
,
соединенного с одной из клемм потенциометра и подвижным контактом, установленным
посередине потенциометра; 2) разность потенциалов между теми же точками потенциометра
при отключении вольтметра.
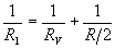
РЕШЕНИЕ 1. Показание вольтметра, подключенного к точкам А и В (рис. 17), определим по формуле

Рис.17
,
(1)
где
- сопротивление параллельно соединенных вольтметра и половины потенциометра,
- суммарная
сила тока в ветвях этого соединения (она равна силе тока в неразветвленной части
цепи).
Силу тока
найдем по закону Ома для полной цепи:
,
(2)
где
- сопротивление внешней цепи. Это сопротивление есть сумма двух сопротивлений:
.
(3)
Сопротивление
найдем по формуле параллельного соединения проводников
, откуда
.
(4)
Подставив в (2) выражение
по (3), найдем
.
(5)
В данном случае решение задачи в общем виде было бы громоздким. Поэтому удобно вычисления величин провести раздельно:

2. Разность потенциалов между
точками А и В при отключенном вольтметре равна произведению силы
тока
на половину
сопротивления потенциометра:
,
(6)
где
- сила тока в цепи при отключенном вольтметре. Ее определим по формуле
.
Подставив выражение
в (6), найдем
.
Произведем вычисления:
.
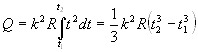
ПРИМЕР 12. Сила тока в проводнике
сопротивлением R=20Ом нарастает в течение времени
по
линейному закону от
до
(рис. 18).
Определить теплоту
,
выделившуюся в этом проводнике за первую секунду, и
-
за вторую, а также найти отношение
.

Рис.18
РПЕШЕНИЕ. Закон Джоуля-Ленца
в виде
справедлив
для постоянного тока (
).
Если же сила тока в проводнике изменяется, то указанный закон справедлив для
бесконечно малого интервала времени и записывается в виде
.
(1)
Здесь сила тока I является некоторой функцией времени. В данном случае
,
(2)
где к – коэффициент пропорциональности, характеризующий скорость изменения силы тока:
.
С учетом (2) формула (1) примет вид
.
(3)
Для определения теплоты, выделившейся
за конечный интервал времени
,
выражение (3) надо проинтегрировать в пределах от
до
:
.
Произведем вычисления:

Следовательно,
,
т. е. за вторую секунду выделиться теплоты в 7 раз больше, чем за первую.
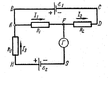
ПРИМЕР 13. Электрическая
цепь стоит из двух гальванических элементов, трех сопротивлений и гальванометра
(рис. 19). В этой цепи
э. д. с. элемента
.
Гальванометр регистрирует силу тока
,
идущего в направлении, указанном стрелкой. Определить э. д. с.
второго элемента. Сопротивлением гальванометра и внутренним сопротивлением пренебречь.

Рис.19
Указание. Для расчета разветвленных цепей применяются законы Кирхгофа.
Число независимых уравнений, которые могут быть составлены по второму закону Кирхгофа, должно быть меньше числа замкнутых контуров, имеющихся в цепи. Для составления уравнений первый контур можно выбирать произвольно. Все последующие контуры следует выбирать таким образом, чтобы в каждый новый контур входила хотя бы одна ветвь цепи, не участвовавшая ни в одном из ранее использованных контуров. Если при решении уравнений, составленных указанным выше способом, получены отрицательные значения силы тока или сопротивления, то это означает, что ток через данное сопротивление в действительности течет в направлении, противоположном произвольно выбранном.
РЕШЕНИЕ. Выберем направление токов, как они показаны на рис. 19, и условимся обходить контуры по часовой стрелке.
По первому закону Кирхгофа для узла F имеем
.
(1)
По второму закону Кирхгофа для контура ABCDFA имеем
,
или
. (2)
Соответственно для контура AFGHA
.
(3)
После подстановки числовых значений в формулы (1), (2) и (3) получим
.
Перенеся в этих уравнениях неизвестные величины в левые части, а известные – в правые, получим следующую систему уравнений:
.
Эту систему с тремя неизвестными
можно решить обычными приемами алгебры, но так как по условию задачи требуется
определить только одно неизвестное
из трех, то воспользуемся методом определителей.
Составим и вычислим определитель
системы:

Составим и вычислим определитель
:

Разделив определитель
на определитель
, найдем числовое
значение э. д. с.:
.
Следовательно,
.
ПРИМЕР 14. Пространство между
пластинами плоского конденсатора имеет объем
и заполнено водородом, который частично ионизирован. Площадь пластин конденсатора
. При каком напряжении
U сила тока, протекающего через конденсатор, достигнет значения
,
если концентрация ионов в газе
?
РЕШЕНИЕ. Напряжение U на пластинах конденсатора связано с напряженностью Е электрического поля и расстоянием между пластинами соотношением
.
(1)
Напряженность поля может быть найдена из выражения плотности тока:
,
где Q – заряд иона; n
– концентрация ионов;
и
- подвижности
положительных и отрицательных ионов. Отсюда
.
Так как объем пространства, заключенного между пластинами, равен Sd, то
.
Подставив выражение Е и d в формулу (1), получим
.
(2)
Произведем вычисления, учитывая,
что подвижность ионов
(см.
прил., табл. 11):
.